| 出願番号 |
特願2016-063739 |
| 出願日 |
2016/3/28 |
| 出願人 |
マザーサンアツミテック・オートモーティブシステム株式会社 |
| 公開番号 |
特開2017-177850 |
| 公開日 |
2017/10/5 |
| 登録番号 |
特許第6656041号 |
| 特許権者 |
株式会社アツミテック |
| 発明の名称 |
シフト装置 |
| 技術分野 |
輸送 |
| 機能 |
機械・部品の製造 |
| 適用製品 |
車両の変速機を操作し得るシフト装置 |
| 目的 |
表示面に表示された所望の操作部を触れることにより変速機を操作可能とされるとともに、誤操作を防止することができるシフト装置を提供する。 |
| 効果 |
スライド操作を含んだ操作が必要とされ、誤操作を防止することができる。 |
技術概要
 |
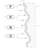
車両を前進させるための前進走行レンジ、車両を後退させるための後退走行レンジ及びニュートラルレンジを示す操作部を有した表示面を有し、任意の前記操作部を指で触れることにより当該操作部に応じて車両の変速機を操作可能なシフト装置において、
前記前進走行レンジの操作部は、前記ニュートラルレンジの操作部から連続して傾斜した第1傾斜面を有し、当該第1傾斜面に沿って指を滑らせてスライド操作することにより前記変速機を前進走行レンジに操作可能とするとともに、前記後退走行レンジの操作部は、前記ニュートラルレンジの操作部から連続して傾斜した第2傾斜面を有し、当該第2傾斜面に沿って指を滑らせてスライド操作することにより前記変速機を後退走行レンジに操作可能とすることを特徴とするシフト装置。 |
| 実施実績 |
【無】 |
| 許諾実績 |
【無】 |
| 特許権譲渡 |
【否】
|
| 特許権実施許諾 |
【可】
|